摘要:下面是由希賽小編整理的通信設備環境知識點精講之柴油機供油系統,希望能幫助學友們。
下面是由希賽小編整理的通信設備環境知識點精講之柴油機供油系統,希望能幫助學友們。具體內容如下:
柴油機供油系統
柴油供給系統的作用是按照柴油機工作過程的需要,定時的向燃燒室內噴入一定數量的霧化柴油后,與空氣形成均勻的可燃混合氣。
柴油供給系統由油箱、輸油泵(也稱低壓油泵〉、柴油濾清器、噴油泵(也稱高壓油泵)、噴油器、調速器和輸油管等組成,如圖5-10所示。

柴油供給系統可分為低壓及高壓兩個油路。在低壓油路中,柴油從油箱1進入粗濾清器
5,在濾去較大顆粒的雜質后,被吸入輸油泵7,再經輸油泵壓入精濾清器11,進一步濾去細小雜質,然后進入噴油泵13內。為了保證噴泊泵有充分的柴油,并維持一定的油壓,輸油泵的供油量總是比噴油泵的需要量大好幾倍,多余的柴油經低壓回油管18回到輸油泵進油端,也可以回到油箱。一部分柴油進入噴泊泵并被壓縮至很高的壓力,經過高壓油管14進入噴油器15直接噴到燃燒室。從噴油泵到噴油器形成一個高壓油路,在油路中有一小部分柴油為潤滑噴油器中的運動零件用,再從噴油器的回油管19引回燃油精濾清器。
1.輸油泵
輸油泵也稱低壓油泵,它的作用是將油箱內的柴油提高一定壓力,保生連續不斷地向噴油泵輸送足量的柴油。輸油泵的結構形式很多,中小型柴油機多采用活塞式和葉片式?;钊捷斢捅玫臉嬙煊杀皿w、活塞組合件、子泵組合件等組成。
手泵活塞與手泵體經選配有一定的配合間隙,在修理時不允許調錯。另外,滾輪傳動輸油機構中,頂桿及活塞外徑尺寸與輸油泵體上相應的孔選配、拆裝時也不要調錯。
止回閥共有兩個,用塑料做成,一個裝在手泵處,另一個裝在出油處。如果裝配不當或使用時間久了,閥的座面磨損過重,或有歪斜不平整時應調換新的。新安裝的止回閥,必須研磨接合面。
2.噴油泵
噴油泵也稱高壓油泵,它的作用是提高柴油的壓力,并根據柴油機工作過程定時、定量、定壓的要求向燃燒室內輸送柴油。多缸柴油機的噴油栗還應做到:各缸噴油次序應符合柴油機的發火次序:各缸噴油量均勻。
一般柴油機所用的噴油泵有分配式和柱塞式兩種。分配式使用較少,目前應用最廣泛的是轉動柱塞式高壓油泵。
(1)高壓油泵的構造
柱塞式高壓油泵的基本結構如圖5-11(a)所示。由柱塞和柱塞套筒偶件、出油閥與閥座偶件,以及傳動用的凸輪、挺柱等組成。柱塞是一個圓柱體,頭部圓柱面上的螺旋斜槽通過徑向孔和軸向孔與柱塞頂部空腔相通(有的柱塞斜槽是通過圓柱面上的直槽與柱塞頂部空腔相通):柱塞中部切有較淺的環形小潤滑油槽。尾部裝有柱塞轉臂(油量調節臂),它與柱塞套筒組成精密的配合偶件,不能隨意互換。柱塞套筒上有進油孔和回油孔,兩者均與泵上體內的低壓油腔相通。柱塞在凸輪和柱塞彈簧的交替作用下,在柱塞套筒中做往復直線運動,也可以在油量調節臂的帶動下繞自身軸線轉動。此外,柱塞偶件上方裝有出油閥和出油閥座組成的精密偶件,靠出油閥彈簧的作用,將出油閥緊密壓在閥座t.閥座與柱塞套筒頂端配合構成柱塞頂部空腔(又稱柱塞上腔),柴油就是從這個空腔經出油閥、高壓油管和噴油嘴壓向燃燒室的。

(2)高壓油泵的工作原理
當凸輪的凸起部分轉過滾輪時,柱塞受柱塞彈簧的作用向下移動,柱塞上腔的空間逐漸增大,從而產生吸力。同時柱塞下移使柱塞套筒上的進油孔露出時,經過濾清的低壓柴油,即由殼體內的進油道經進油孔吸入柱塞上腔內,完成進油過程。凸輪的凸起部分轉到與滾輪接觸時,克服柱塞彈簧的彈力推動柱塞上移,柱塞封閉進、回油孔后,柱塞上腔成為密封空間,吸入的柴油被柱塞壓縮,油壓急劇上升。當油壓超過出油閥彈簧的彈力和高壓油管內余油壓力時,出油閥被頂開,高壓柴油被壓入高壓油管,向噴油嘴供油。柱塞繼續h移,高壓柴油不斷經出油閥泵出,完成泵油過程。柱塞頭部的斜槽邊緣剛與柱塞套筒上的回油孔相通時,柱塞上腔內的商壓柴油迅速經柱塞的軸問孔、徑向孔(有的柱塞偶件中油是經柱塞頭部的直梢)和斜梢,通過回油孔流往回油道,泵內油壓驟然F降,出油閥因被彈簧壓力壓回閥座內而關閉,供油立即停止,完成回油過程。此后,柱塞繼續上移,但不再壓縮柴油,直到柱塞因受凸輪和柱塞彈簧作用而下移為止。柱塞套筒上的進油孔再次露出時,進油過程重新開始。凸輪每轉一周,柱塞偶件向噴油嘴供油一次。
供油贄調節是通過柱塞在柱塞套筒中的轉動來實現的。螺旋斜面與回油孔的相對位置改變時,螺旋斜血邊緣打開回油孔的時間改變,因而供油量得到了調節。
柱塞在套簡中的轉動是靠油量調節機構完成的。油量調節機構有撥叉式和齒條式兩種。撥叉式油ft調節機構如圖5-12所示,由拉桿、調節臂、調節叉等組成。調節叉(每個分泵有一個)用螺釘固定在拉桿上,油量調節臂球頭插入調節叉槽中。拉桿左右移動時,各分泵的柱塞同時跟著轉動,從而改變供油依。柴油機工作時,拉桿的動作由調速器Cl動控制。抒松調節叉的固定螺絲,在拉桿上個別移動調節叉,可以調整各氣缸供油厘及供油的均勻性。此外,在拉桿上壓有停泊銷子,停油時拉動手柄撥動銷子,便可使拉桿移向停止供油位符。


從柱塞上移封閉進油孔開始,到其斜槽邊緣與柱塞套筒上的回泊孔相通時為止,這段柱塞行程稱為供油行程或有效行程,它與供油延續時間相當。供油貴取決于供油行程的長短。轉動柱塞時,開始供油的時間不變,但是柱塞斜梢邊緣與回油孔相通的位置改變了,因而改變了回油起始時間與供油行程,達到了調節供油量的目的。
齒桿式油量調節機構的結構如圖5-13所示,其油量調節是靠齒桿帶動齒輪套使柱塞轉動而實現的。為了簡化高壓油泵的傳動機構,常把幾個單體式高壓油泵裝在--起,組成合成式高壓油泵。合成式高壓油泵的特點是將柱塞、高壓油泵、凸輪軸以及調速器都裝在體內,結構非常緊湊,也便于調試,在多缸柴油機上被廣泛采用。
噴油泵的拆裝及修理。噴油泵拆裝修理及調整首要的條件就是保持清潔。拆卸時需注意每一個分泵零件應做好記號并放在一起。柱塞偶件及出油閥偶件不能調換,必須成對安置。
拆卸后的零件放在柴油中清洗吹凈。零件清洗后,應進行質量檢査,不合格的零件應予更換。
重裝噴油泵時應按原樣裝好。
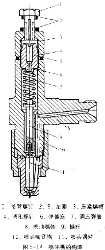
3.噴油器
噴油器又稱噴油嘴,它的作用是將噴油泵在一定時刻所供給的高壓柴油,經過噴油器的噴嘴把柴油霧化成顆粒噴射到燃燒室中,與空氣形成良好的可燃混合氣。
噴油嘴有開式和閉式兩類。中小型柴油機都采用閉式噴油嘴,它的特點是噴油結束后,噴油嘴油腔立即封閉而不與燃燒室相通,髙溫燃燒氣體不會由燃燒室沖入噴油嘴內腔使燃油燃燒,以免因積炭而阻塞噴孔。按噴孔數目,噴油嘴又分為單孔式(軸針式)和多孔式兩種。噴油嘴的--般構造如圖5-14所示,由噴油嘴體、調壓彈簧、挺桿、調壓螺釘、噴頭偶件等組成。噴頭偶件由針閥和針閥座組成,它是一對高精度偶件,不能拆對互換。針閥體內除有針閥孔外,還有環形油道、直油道和與直油道相通的環形油腔以及噴孔。針閥頭部有兩個錐面和一個倒錐形軸針。大錐面處于針閥體內的環形油腔中,接受油壓使針閥升起,稱為提升錐面;小錐面座落在噴孔的內錐面上,兩者經研合成為噴油嘴的密封錐面。由于倒錐體形軸針是伸入噴孔中的,所以噴油時可使油霧呈現一定的錐角。

噴油器工作原理。柴油從入口經噴油器體中的孔道進入閥體油腔內,當柴油的壓力作用于針閥面產生的壓力超過彈簧壓力時,針閥開始升起,柴油即進入氣缸中。針閥的升程受噴油器端面的限制,這是為了使針閥能較快的切斷柴油。少量未噴射出去的燃油經回油管流入燃油箱中。
噴油器的清洗和修理。噴油器的一般清洗方法是:
用銅絲布蘸汽油或柴油刷洗,去掉噴嘴上的煙渣,再用直徑1.7mm的鋼絲或鉆頭清理油針的油路。噴孔堵塞時用探針清除。油針在柴油內浸過后用專門的銅絲刷子刷洗針部,
最后在純凈汽油中清洗吹凈。清洗好了的噴油器零件應仔細檢查,當油針與油針體及噴油器體等零件有以下情況時應研磨修正。
(1)油針與油針體導向配合不夠光滑,滑動性不良。
(2)油針與油針體密封錐面有輕微損傷。
(3)油針體大端平面有輕微損傷。
(4)噴油器體與油針體接合的端面有輕微損傷。
4.調速器
內燃機帶動發電機供電時,發電機的輸出電流隨著用電設備的需要時增時減,輸出電流增大時,內燃機曲軸上的阻力矩增大,曲軸轉速就要降低;當輸出電流減小時,曲軸轉速就會升髙。如果不控制轉速,發電機的供電電壓和頻率就不穩定,嚴重影響用電設備的正常工作。尤其是當發電機停止供電時,內燃機因突然失去負荷而轉速過高,引起“飛車”,這樣不但加速機件磨損,還可能損壞機件。因此,在內燃機h,必須増設能按照負載變化,自動調節供油量的裝置(即調速器)。
調速器的作用是:根據內燃機負載的變化,自動調節供油量(柴油機)或可燃混合氣量(汽油機),使內燃機輸出功率與負載相適應,維持內燃機轉速基本穩定。在柴油機中,調速器作用在高壓油泵的撥叉(或齒條)上,當柴油機的負載增大或減小時,能自動地撥動撥叉或齒條使供油量增大或減小,以維持轉速穩定。
調速器是一種自動控制裝置,分離心式、氣力式和液力式三種形式,內燃機大多采用機械離心式調速器。
離心式調速器裝在柴油機凸輪軸前端,或裝在組合式高壓油泵的凸輪軸上,它主要由飛錘、滑套、彈簧、擺桿等組成。柴油機在帶負荷工作中,若因負荷的減輕而使轉速增高時,飛錘由于離心力增大而向外擴展,飛錘的彎柄推動滑套克服彈簧的彈力,使擺桿將噴油泵的齒桿向減油的方向移動,使柴油機的轉速基本上降為原來的轉速相反,若柴油機轉速下降時,則會使噴油泵的齒桿向加油方向移動,使柴油機轉速升至原數值。調節操縱手柄,可改變調速彈簧的彈力I使柴油機能在調速范圍內的任意轉速下穩定運轉。
5.燃油濾清器
燃油濾清器的作用是通過過濾清除燃油中的雜質和水分,保證內燃機正常工作。濾清器的具體結構和濾芯材料由濾清的要求決定。
一般燃油濾清器由殼體、濾座和濾芯三個主要部分組成。
6.柴油
柴油的性質。柴油是一種石油化工產品,它是在260X:-350X:的溫度范圍內從石油中提煉出來的,屬碳、氣化合物,其中碳的成分為87%、氫12.6%、氧0.4%.柴油的使用性能指標主要是發火性、蒸發性、黏度和凝點,這些對柴油機性能影響很大。
(1)十六燒值。發火性好的柴油自燃能力強,準備時間短,柴油機工作比較平穩,可在氣缸溫度較低的情況下發火,因此利于啟動。柴油的發火性-般用十六燒值來表示,該值越高,發火性越好。柴油機所用的柴油,十六燒值應在40?50之間,較高不超過65,若再高則會造成柴油機排氣冒煙嚴重。
(2)蒸發性。柴油的蒸發性對可燃混合氣的形成與燃燒有一定影響,其影響的程度常用燃料的蒸餾實驗決定,即將柴油加熱,分別測定蒸發出50%、90%、95%餾分時的溫度,這些溫度分別定名為50%餾出溫度、90%餾出溫度和95%餾出溫度,餾出溫度越低,柴油蒸發性越好。
(3)黏度。柴油的黏度決定著流動性。黏度小,則流動性好,若黏度過大,也會使濾清沉淀困難,流動阻力增大,進而影響到霧化。黏度過小,則會增加噴油泵的柱塞套筒之間、噴油器針閥與針閥體之間的柴油漏失量,并將加劇這些精密零件表面的磨損。
(4)凝點。柴油的凝點是指柴油失去流動性的溫度。好的柴油應具備低凝點,凝點過高,對柴油機供油系統工作極為不利,特別是在低溫下可能造成供油系統堵塞。
柴油的牌號。國產柴油分為輕柴油和重柴油。輕柴油的揮發性較好,它根據凝點數值分成幾種牌號:0號、10號、20號、35號。數字表示凝固點溫度,如20號柴油的凝固點是-20℃。重柴油按黏度大小分成三種:10號、20號、30號,號數越大黏度越大。
柴油的選用。柴油的選用與很多因素有關。一般轉速在lOOOr/min以上的高速柴油機選用輕柴油,并根據當地氣溫條件選擇某一種牌號。一般氣溫高于15C時可選用0號輕柴油,氣溫在0℃-+15℃時可選用10號或20號輕柴油;氣溫在-15.C-Ot時則選用35號輕柴油。10號重柴油用于500-lOOOr/min的柴油機,20號重柴油用于300-700r/min的柴油機,30號重柴油用于300r/min以下的柴油機。高速柴油機若采用重柴油可降低柴油機的運轉費用,但因重柴油雜質多,黏度大,用時需有相應的技術措施,例如,加強濾清、預熱柴油、提高冷卻水溫度,選擇合適的噴油壓力和噴油提前角等。
相關推薦:
通信工程師備考資料免費領取
去領取
專注在線職業教育25年