摘要:中級通信工程師考試培訓油機發電系統:油機發電機組是由柴油(汽油)機和發電機兩大部分組成。在通信領域,油機發電機組作為交流電源供給設備,在沒有市電的地方,油機發電機組就成為通信設備的獨立電源,在有市電供給的地方,油機發電機組就作為備用電源,以便在市電停電時期保證通信設備的供電需要,確保通信設備的不間斷工作。
1.油機發電系統
油機發電機組是由柴油(汽油)機和發電機兩大部分組成。在通信領域,油機發電機組作為交流電源供給設備,在沒有市電的地方,油機發電機組就成為通信設備的獨立電源,在有市電供給的地方,油機發電機組就作為備用電源,以便在市電停電時期保證通信設備的供電需要,確保通信設備的不間斷工作。目前通信局(站)多數油機發電機組都采用柴油發電機組承擔備用發電功能。
1、發電機組的組成部分:
1)發電機:發電機多采用單相、旋轉磁場式結構的同步發電機。
2)發動機:發動機是發電設備的動力裝置,通常稱之為油機。
3)控制系統:發電機組是通過控制面板來啟動、停止、變換配電向用電設備供電的,同時也指示發電機組的運行狀態。
2、油機的總體構造和工作原理
油機主要由曲軸連桿機構、配氣機構、供電機構、供油系統、潤滑系統和冷卻系統等幾部分組成。
曲軸連桿機構:由氣缸、活塞、連桿與曲軸組成,作用是將燃燒產生的化學能轉化為機械能。配氣機構:由進氣門、排氣門、凸輪軸、推桿、挺桿和搖臂等部件組成,作用是用來控制內燃機進排氣時間。供油系統:由油箱、柴油濾清器、低壓油泵、高壓油泵和噴油嘴等部分組成并在適當的時機通過噴油嘴將柴油以霧狀噴入氣缸壓燃。潤滑系統:通常由機油泵、機油濾清器(粗濾和細濾)等部分組成,作用是將機油源源不斷地送到需要潤滑的機件上,以減輕機件磨損并延長機油的使用期限。冷卻系統:由水套、散熱器,水管、水泵組成,使柴油機始終在適宜的環境下工作。

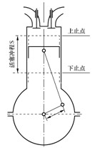
油機是將燃料的化學能轉化為機械能的一種機器,它是通過氣缸內連續進行進氣、壓縮、工作、排氣四個過程來完成能量轉換的 。活塞在氣缸中運動時有兩個極端位置:上止點和下止點(又稱上死點和下死點)。上止點和下止點間的距離稱為活塞沖程(又稱為活塞行程)當活塞由上止點移到下止點時,所經過的容積稱為氣缸工作容積,又稱活塞排量,通常以升或立方厘米計算。工作容積與燃燒室容積之和叫氣缸總容積。氣缸總容積與燃燒室容積的比值稱為壓縮比。
四沖程柴油機的工作循環是在曲軸旋轉兩周(720°),即活塞往復運動四個沖程中,完成了進氣、壓縮、工作、排氣這四個過程,來完成能量轉換的
四沖程原理圖如下:

返回目錄:
編輯推薦:
通信工程師備考資料免費領取
去領取
專注在線職業教育25年