摘要:設備環境分散供電方式的優點和缺點:分散供電方式中,交流供電系統仍采用集中供電方式,而直流供電系統則分成若干個單元供電系統,可按通信系統或通信機房設置,甚至按通信設備機架設置。
分散供電方式:分散供電方式中,交流供電系統仍采用集中供電方式,而直流供電系統則分成若干個單元供電系統,可按通信系統或通信機房設置,甚至按通信設備機架設置。
1)半分散供電方式:把整流器與蓄電池以及相應的配電單元等設備安裝在通信機房或領近房間中,向該通信機房中的通信設備供電的方式。
2)全分散供電系統:每列通信設備的機架內都裝設了小型基本電源(包括整流模塊、交直流配電單元、蓄電池)。
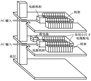
下圖為半分散供電方式電源設備布放圖:

分散供電方式的優點:
1、可靠性高。在故障發生時減小了故障影響面,所以提高了電源系統可靠性。
2、有明顯的經濟效益。各種容量的耗能和占地面積的有較大幅度的減少。
3、承受故障能力強。
4、能合理配置電源設備。不需考慮擴容等問題,節約了初期投資、減少了設備和系統資源的浪費。
分散供電方式的缺點:
由于分散供電是將蓄電池與通信設備放在同一機房,故要求電池密封程度很高,同時考慮到樓板的承受力,一般電池容量按0.1H~1H配備,對交流供電要絕對保證。
返回目錄:
編輯推薦:
通信工程師備考資料免費領取
去領取
專注在線職業教育25年